Controls Ford

Jika kamu sedang mencari Controls Ford, maka anda berada di halaman yang tepat. Kami menyediakan aneka Controls Ford yang bisa anda pesan online. Silakan hubungi kami via +6282245078486, jangan lupa sertakan juka gambar yang diinginkan.

Kami mengirim paket Controls Ford melalui berbagai ekspedisi, misalnya JNE, JNT, POS, dll. Kami juga menerima pembayaran via BCA/Mandiri/dll. Pengiriman biasanya tidak sampai seminggu sudah sampai dan kami sertakan pula nomor resi yang bisa digunakan untuk tracking barang secara online.

ford  xl regular cab  controls  gtcarlotcom

Tidak hanya Controls Ford, anda juga bisa melihat gambar lain seperti Steering Wheel, Intake Manifold Runner, Module Diagram, Remote, Arm, Module, Forward, Module Xnto, Adaptive Cruise, Part 3W7z5a919, Board, System, Bronco Sport, Off-Road, Electric Vehicles, Company Logo, Car Truck, Everest SUV, New Logo, Mustang GTD, Sports Cars, Logo.svg, Logo png, and GT Supercar.

Berbagai Contoh Controls Ford

Berikut kami sertakan berbagai contoh gambar untuk Controls Ford, silakan save gambar di bawah dengan klik tombol pesan, anda akan kami arahkan pemesanan via WA ke +6282245078486.

audio controls ford cambodia 1440×493

audio controls ford cambodia

Order Sekarang

ford cd controls auto button repair 463×600

ford cd controls auto button repair

Order Sekarang

ford flex limited awd controls  gtcarlotcom 1024×768

ford flex limited awd controls gtcarlotcom

Order Sekarang

ford flex sel awd controls  gtcarlotcom 1024×768

ford flex sel awd controls gtcarlotcom

Order Sekarang

ford fusion hybrid titanium controls  gtcarlotcom 1024×768

ford fusion hybrid titanium controls gtcarlotcom

Order Sekarang

ford focus  sedan controls  gtcarlotcom 1024×768

ford focus sedan controls gtcarlotcom

Order Sekarang

ford ranger xl supercab  controls  gtcarlotcom 1024×768

ford ranger xl supercab controls gtcarlotcom

Order Sekarang

ford  xlt supercrew  controls  gtcarlotcom 1024×768

ford xlt supercrew controls gtcarlotcom

Order Sekarang

ford  xl regular cab controls  gtcarlotcom 1024×768

ford xl regular cab controls gtcarlotcom

Order Sekarang

ford  xl supercrew  controls  gtcarlotcom 1024×768

ford xl supercrew controls gtcarlotcom

Order Sekarang

dash controls ford truck enthusiasts forums 2000×1500

dash controls ford truck enthusiasts forums

Order Sekarang

ford  xl regular cab  controls  gtcarlotcom 1024×768

ford xl regular cab controls gtcarlotcom

Order Sekarang

ford  xl supercab  controls  gtcarlotcom 1024×768

ford xl supercab controls gtcarlotcom

Order Sekarang

ford  xlt regular cab  controls photo  gtcarlotcom 1024×768

ford xlt regular cab controls photo gtcarlotcom

Order Sekarang

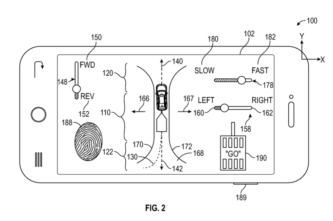
ford patents removable controls  driverless car 1422×948

ford patents removable controls driverless car

Order Sekarang

future ford vehicles   adaptive interior controls 850×886

future ford vehicles adaptive interior controls

Order Sekarang

ford files patent  convertible  roaders  standing controls 1000×600

ford files patent convertible roaders standing controls

Order Sekarang

car controls wikipedia 600×450

car controls wikipedia

Order Sekarang

controls  ford mustang   singapore motorshow  editorial 1600×1155

controls ford mustang singapore motorshow editorial

Order Sekarang

control  controls control engineering 1280×853

control controls control engineering

Order Sekarang

ford edge price  ksa versions reviews offers 930×620

ford edge price ksa versions reviews offers

Order Sekarang

ford dealer installed ac controls ford truck enthusiasts forums 1999×1493

ford dealer installed ac controls ford truck enthusiasts forums

Order Sekarang

ford   car  control  home fortune 1440×914

ford car control home fortune

Order Sekarang

ford territory fuse box diagram startmycar 673×703

ford territory fuse box diagram startmycar

Order Sekarang

ford ranger  interior   news 1200×800

ford ranger interior news

Order Sekarang

future ford vehicles  translate messages  occupants 850×834

future ford vehicles translate messages occupants

Order Sekarang

electronic stability control ford 1440×810

electronic stability control ford

Order Sekarang

nemfrog fig  instruments  control panel ford 736×1085

nemfrog fig instruments control panel ford

Order Sekarang

redesigned ford mustang control panel behance 1400×788

redesigned ford mustang control panel behance

Order Sekarang

ford patent filed  vehicular remote control system 1060×705

ford patent filed vehicular remote control system

Order Sekarang

future ford vehicles  automatically switch drive modes 818×1067

future ford vehicles automatically switch drive modes

Order Sekarang

sync controls general ford related discussions ford 2160×2160

sync controls general ford related discussions ford

Order Sekarang

Temukan solusi terbaik untuk kenyamanan ruang Anda dengan Controls Ford! Produk peredam suara dan panas ini menawarkan performa maksimal dengan harga yang terjangkau. Dapatkan kualitas unggul tanpa menguras kantong, dan nikmati suasana tenang serta sejuk di setiap sudut rumah atau kantor Anda. Pilih Controls Ford – pilihan cerdas untuk investasi jangka panjang!

Tidak ada hasil untuk penelusuran kata kunci Controls Ford

NO RESULT FOUND

Maaf, tidak ada yang cocok dengan kriteria yang Anda cari.

Apa yang ingin Anda lakukan?
« kembali ke Beranda atau gunakan kotak pencarian dibawah ini untuk mulai penelusuran baru.

Social Media & Marketplace
Chat via Whatsapp

Ada yang ditanyakan?
Klik untuk chat dengan customer support kami

Raisa
● online
Benu
● online
Raisa
● online
Halo, perkenalkan saya Raisa
baru saja
Ada yang bisa saya bantu?
baru saja
Produk Quick Order

Pemesanan dapat langsung menghubungi kontak dibawah:

Controls Ford

Jika kamu sedang mencari Controls Ford, maka anda berada di halaman yang tepat. Kami menyediakan aneka Controls Ford yang bisa anda pesan online. Silakan hubungi kami via +6282245078486, jangan lupa sertakan juka gambar yang diinginkan.

Kami mengirim paket Controls Ford melalui berbagai ekspedisi, misalnya JNE, JNT, POS, dll. Kami juga menerima pembayaran via BCA/Mandiri/dll. Pengiriman biasanya tidak sampai seminggu sudah sampai dan kami sertakan pula nomor resi yang bisa digunakan untuk tracking barang secara online.

future ford vehicles  translate messages  occupants

Tidak hanya Controls Ford, anda juga bisa melihat gambar lain seperti Steering Wheel, Intake Manifold Runner, Module Diagram, Remote, Arm, Module, Forward, Module Xnto, Adaptive Cruise, Part 3W7z5a919, Board, System, Bronco Sport, Off-Road, Electric Vehicles, Company Logo, Car Truck, Everest SUV, New Logo, Mustang GTD, Sports Cars, Logo.svg, Logo png, and GT Supercar.

Berbagai Contoh Controls Ford

Berikut kami sertakan berbagai contoh gambar untuk Controls Ford, silakan save gambar di bawah dengan klik tombol pesan, anda akan kami arahkan pemesanan via WA ke +6282245078486.

audio controls ford cambodia 1440×493

audio controls ford cambodia

Order Sekarang

ford cd controls auto button repair 463×600

ford cd controls auto button repair

Order Sekarang

ford flex limited awd controls  gtcarlotcom 1024×768

ford flex limited awd controls gtcarlotcom

Order Sekarang

ford flex sel awd controls  gtcarlotcom 1024×768

ford flex sel awd controls gtcarlotcom

Order Sekarang

ford fusion hybrid titanium controls  gtcarlotcom 1024×768

ford fusion hybrid titanium controls gtcarlotcom

Order Sekarang

ford focus  sedan controls  gtcarlotcom 1024×768

ford focus sedan controls gtcarlotcom

Order Sekarang

ford ranger xl supercab  controls  gtcarlotcom 1024×768

ford ranger xl supercab controls gtcarlotcom

Order Sekarang

ford  xlt supercrew  controls  gtcarlotcom 1024×768

ford xlt supercrew controls gtcarlotcom

Order Sekarang

ford  xl regular cab controls  gtcarlotcom 1024×768

ford xl regular cab controls gtcarlotcom

Order Sekarang

ford  xl supercrew  controls  gtcarlotcom 1024×768

ford xl supercrew controls gtcarlotcom

Order Sekarang

dash controls ford truck enthusiasts forums 2000×1500

dash controls ford truck enthusiasts forums

Order Sekarang

ford  xl regular cab  controls  gtcarlotcom 1024×768

ford xl regular cab controls gtcarlotcom

Order Sekarang

ford  xl supercab  controls  gtcarlotcom 1024×768

ford xl supercab controls gtcarlotcom

Order Sekarang

ford  xlt regular cab  controls photo  gtcarlotcom 1024×768

ford xlt regular cab controls photo gtcarlotcom

Order Sekarang

ford patents removable controls  driverless car 1422×948

ford patents removable controls driverless car

Order Sekarang

future ford vehicles   adaptive interior controls 850×886

future ford vehicles adaptive interior controls

Order Sekarang

ford files patent  convertible  roaders  standing controls 1000×600

ford files patent convertible roaders standing controls

Order Sekarang

car controls wikipedia 600×450

car controls wikipedia

Order Sekarang

controls  ford mustang   singapore motorshow  editorial 1600×1155

controls ford mustang singapore motorshow editorial

Order Sekarang

control  controls control engineering 1280×853

control controls control engineering

Order Sekarang

ford edge price  ksa versions reviews offers 930×620

ford edge price ksa versions reviews offers

Order Sekarang

ford dealer installed ac controls ford truck enthusiasts forums 1999×1493

ford dealer installed ac controls ford truck enthusiasts forums

Order Sekarang

ford   car  control  home fortune 1440×914

ford car control home fortune

Order Sekarang

ford territory fuse box diagram startmycar 673×703

ford territory fuse box diagram startmycar

Order Sekarang

ford ranger  interior   news 1200×800

ford ranger interior news

Order Sekarang

future ford vehicles  translate messages  occupants 850×834

future ford vehicles translate messages occupants

Order Sekarang

electronic stability control ford 1440×810

electronic stability control ford

Order Sekarang

nemfrog fig  instruments  control panel ford 736×1085

nemfrog fig instruments control panel ford

Order Sekarang

redesigned ford mustang control panel behance 1400×788

redesigned ford mustang control panel behance

Order Sekarang

ford patent filed  vehicular remote control system 1060×705

ford patent filed vehicular remote control system

Order Sekarang

future ford vehicles  automatically switch drive modes 818×1067

future ford vehicles automatically switch drive modes

Order Sekarang

sync controls general ford related discussions ford 2160×2160

sync controls general ford related discussions ford

Order Sekarang

Temukan solusi terbaik untuk kenyamanan ruang Anda dengan Controls Ford! Produk peredam suara dan panas ini menawarkan performa maksimal dengan harga yang terjangkau. Dapatkan kualitas unggul tanpa menguras kantong, dan nikmati suasana tenang serta sejuk di setiap sudut rumah atau kantor Anda. Pilih Controls Ford – pilihan cerdas untuk investasi jangka panjang!